KAVAN Smart PRO KSW18 Nouzový vypínač - Návod k obsluze
Úvod
Gratulujeme k zakoupení KAVAN Smart PRO KSW18 Nouzový vypínač, výkonného digitálního spínače s opticky odděleným spínacím obvodem. Díky vysoké odolnosti proti rušení a galvanickému oddělení signálu je vhodný pro použití jako nezávislý spínač zapalování spalovacího motoru. Lze jej ovládat pomocí RC kanálu z přijímače, mechanickým spínačem nebo jejich kombinací. Zařízení nabízí široké možnosti konfigurace.
Vlastnosti
- Opticky oddělený spínací obvod s nezávislým napájením.
- Podpora různých typů zátěže: motory, relé, osvětlení, topná tělesa.
- Možnost připojení magnetického, mechanického nebo elektronického tlačítka či spínače (volitelná podpora dotykového spínače).
- Dva ovládací vstupy spínače pro zvýšení bezpečnosti.
- Podpora telemetrie Duplex EX a FrSky (pro konfiguraci).
- Konfigurace pomocí vysílače nebo PC softwaru MAV Manager.
- Možnost aktualizace firmwaru.
Technické údaje
| Specifikace | KSW18 |
|---|---|
| Rozměry | 50×19×10 mm |
| Hmotnost včetně kabelů | 19 g |
| Hmotnost včetně kabelů a kombinovaného magnetického/dotekového vypínače | 24 g |
| Kabely | 3×1 mm² (17AWG) |
| Konektory | – |
| Trvalý proud | 18 A |
| Špičkový proud (2s) | 30 A |
| Provozní proud | < 10 mA |
| Provozní teplota | (-20)-85 °C |
| Napájecí napětí (vstup Rx) | 4–16 V |
| Napájecí napětí (izolovaný spínací obvod) | 5-26 |
| Telemetrie | Duplex EX, FrSky (pouze konfigurace) |
| Podpora dotykového vypínače | Ano |
| BEC | Ne |
| Volitelný dotykový/mechanický spínač/tlačítko | Ano |
| Stavová LED | Ano |
Instalace
Zařízení zapojte podle přiloženého schématu. Spínací bod a polaritu vstupního RC signálu lze upravit v nastavení.
Základní zapojení s dvěma bateriemi

Připojení mechanického/elektronického spínače
KSW18 umožňuje kombinaci dvou řídicích vstupů pro zvýšení provozní bezpečnosti. Ve výchozím stavu je aktivní pouze primární vstup (signál z přijímače). Pokud chcete snížit riziko neúmyslného zapnutí například zapalování motoru, můžete využít kombinaci primárního a sekundárního vstupu.

Instalace dotykového spínače

- Umístěte dotykové tlačítko kamkoli na model na povrch vyrobený z nevodivého materiálu.
- Nechejte stavovou LED viditelnou z vnějšku trupu.
Postup aktivace
- Připojte přijímačovou baterii ke KSW18 a dotkněte se tlačítka. Stavová LED by měla začít blikat. Pokud ne, zvyšte prosím parametr Citlivost doteku v konfiguraci.
- Dotkněte se tlačítka po dobu přibližně 2 sekund. Po prvním bliknutí začne LED opakovaně blikat. V tuto chvíli tlačítko uvolněte. Hlavní výstup bude aktivován.
Telemetrie a nastavení

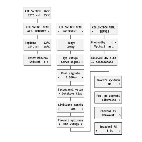
Zařízení je kompatibilní s terminálem JETIBOX, které můžete použít pro nastavování. Menu JETIBOXu je rozděleno do tří sekcí:
- Aktuální hodnoty – Zobrazuje aktuální telemetrické údaje (např. teplotu) včetně minimálních a maximálních hodnot.
- Reset Min/Max - stiskněte současně tlačítka vlevo a vpravo pro resetování všech minim a maxim.
- Nastavení – základní konfigurace zařízení.
- Jazyk – zvolte si jazyk obrazovky JETIBOXu
- Typ vstupu – určuje hlavní ovládací vstup spínače:
- Servo signál (výchozí) – Spínač je ovládán PWM signálem z přijímače.
- Napěťová úroveň – Ovládání pomocí logické napěťové úrovně na vstupu Rx (2,0 – 5.0 V = zapnuto, 0 - 0,7 V = vypnuto). Napájení KSW18 je vždy zajišťováno trojlinkou „Rx“. Na vstupu je automaticky aktivní pulldown rezistor.
- Sériová linka – Lze použít libovolný kanál sériové sběrnice (např. S.Bus, EX Bus, P2Bus, F.Port nebo F.Bus). Kabel Rx musí být připojen na výstup sběrnice přijímače.
- Prahová hodnota servosignálu – Nastavení prahové hodnoty PWM signálu pro přepnutí výstupu. Signál vyšší než tato hodnota (výchozí: 1,5 ms) aktivuje výstup.
- Sériový kanál – Výběr konkrétního kanálu, pokud je vstupní typ nastaven na Sériová linka.
- Sekundární vstup (Žádný / Mechanický / Hall / Tlačítko / Dotyk). Volitelný druhý ovládací vstup spínače. Sekundární vstup může být vybaven stavovou LED.
- Citlivost dotyku – Upravuje citlivost dotykového tlačítka. Vyšší citlivost umožňuje instalaci pod silnější kryt (např. trup modelu), ale může také zvýšit náchylnost k falešným aktivacím.
- Chování spínače – Nastavení logiky spínání podle vstupů:
- Pouze primární vstup (výchozí) – Spínač je ovládán pouze hlavním vstupem.
- Primární a sekundární vstup – Pro aktivaci výstupu musí být aktivní oba vstupy současně. Pokud některý z nich přestane být aktivní, výstup se vypne.
- Pouze sekundární vstup – Spínač je ovládán výhradně druhým vstupem.
- Invertovat výstup – Přepíná logiku výstupu (např. „aktivní nízký“ místo „aktivní vysoký“).
- Požadovaná pozice po zapnutí – Určuje chování výstupu při zapnutí zařízení:
- Libovolná pozice (výchozí) – Výstup se řídí vstupem ihned po startu.
- Pozice Vypnuto – Výstup zůstává po zapnutí vypnutý a aktivuje se až poté, co vstupní signál rovněž přejde do stavu vypnuto.
- Pozice Zapnuto – Výstup je po zapnutí zapnutý a vstup musí být také aktivován..
- Chování při ztrátě signálu (FailSafe) – Nastavení výstupu při ztrátě řídicího signálu:
- Opakovat – Zachová poslední známý stav.
- Vypnout – Výstup přejde do stavu vypnuto.
- Zapnout – Výstup přejde do stavu zapnuto.
- Zpoždění FailSafe – Nastaví dobu (v sekundách) mezi posledním známým signálem a aktivací FailSafe režimu.
- Servis – Zobrazuje verzi zařízení a umožňuje obnovení továrního nastavení.

Integrace FrSky
Spínač KSW18 je kompatibilní s přijímači podporujícími protokoly FPort a FBus, což umožňuje jak přenos řízení a telemetrie, tak konfiguraci. KSW18 přijímá informace z kanálů a zpětně odesílá telemetrická data. Může dekódovat všechny protokoly od FBus 8 až do FBus 24, ale pouze prvních 16 kanálů může být použito pro interní funkce spínání.
Pro nastavování zařízení je vyžadován systém Ethos (minimální verze 1.6.0). Je nutné stáhnout odpovídající Lua aplikaci do svého vysílače a umístit ji do složky “scripts”. Aplikaci spustíte z druhé stránky Konfiguračního menu. Upozorňujeme, že k telemetrické sběrnici by měl být připojen pouze jeden spínač KSW18, aby se předešlo konfliktům adres.
Bezpečnostní informace
- Používejte KSW18 vždy v suchém prostředí a nepřekračujte limity pro dané zařízení, které jsou uvedeny v tomto návodu. Nikdy nevystavujte zařízení přílišnému horku ani chladu.
- Neodstraňujte plastový kryt ze zařízení a nesnažte se jej fyzicky upravovat. Mohlo by tímto dojít k totální destrukci a k zamítnutí jakýchkoli nároků na reklamaci.
- Vždy zkontrolujte polaritu připojených kabelů. Nikdy polaritu neobracejte – mohlo by tím dojít k totální destrukci.
- Vždy používejte napájecí zdroj dostatečně dimenzovaný podle spotřeby připojené zátěže. Nikdy nepřekračujte maximální povolené provozní napětí.
Aktualizace firmware
Aktualizace firmwaru pro KSW18 lze nahrát z PC pomocí USB interface. Požadované programy a soubory jsou k dispozici na stránkách www.mavsense.com.
Nainstalujte do počítače software MAV Manager, ovladače pro USB interface a zkontrolujte systémové požadavky.
- Odpojte všechna zařízení připojená ke KSW18.
- Připojte USB interface k počítači, spusťte MAV Manager - Updater a vyberte správný COM port.
- Připojte KSW18 podle obrázku níže – použijte port s označením Rx.
- Vyberte odpovídající soubor *.BIN a stiskněte tlačítko Aktualizovat.

Konfigurace přes počítač
Je možné využít software MAV Manager (verze 1.16.0 a novější) k pohodlné konfiguraci všech parametrů KSW18, zobrazení telemetrie v reálném čase či zálohování konfigurace. Nabídka programu obsahuje čtyři tlačítka v horní nástrojové liště:
- Znovu načíst – vynutí opětovné načtení konfigurace ze zařízení.
- Import – importuje nastavení ze souboru. Pokud máte několik zařízení a chcete, aby byly všechny shodně nastavené, jednoduše importujte stejný soubor s nastavením do každého zařízení.
- Export – exportuje nastavení do souboru. Můžete snadno vytvořit záložní konfiguraci, která bude
uložena ve vašem PC. Po vytvoření zálohy můžete experimentovat s nastavením a později se vrátit zpět k původní konfiguraci stisknutím tlačítka „Import“ a výběrem původního uloženého souboru.
- Výchozí nastavení – resetuje KSW18 do výchozího továrního nastavení a znovu načte celou konfiguraci.
Výrobce
KAVAN Smart PRO KSW18 Nouzový vypínač je vyráběn v České republuice společností MAV Sense s.r.o.
E-mail: info@mavsense.com | Web: www.mavsense.com
Recyklace (Evropská unie)

Elektrická zařízení opatřená symbolem přeškrtnuté popelnice nesmějí být vyhazována do běžného domácího odpadu, namísto toho je nutno je odevzdat ve specializovaném zařízení pro sběr a recyklaci. V zemích EU (Evropské unie) nesmějí být elektrická zařízení vyhazována do běžného domácího odpadu (WEEE - Waste of Electrical and Electronic Equipment - Likvidace elektrických a elektronických zařízení, směrnice 2002/96/EG). Nežádoucí zařízení můžete dopravit do nejbližšího zařízení pro sběr nebo recyklačního střediska. Zařízení poté budou likvidována nebo recyklována bezpečným způsobem zdarma. Odevzdáním nežádoucího zařízení můžete učinit důležitý příspěvek k ochraně životního prostředí.
EU prohlášení o shodě

Tímto KAVAN Europe s.r.o. prohlašuje, že KAVAN Smart PRO KSW18 Nouzový vypínač je v souladu s požadavky příslušných evropských směrnic a harmonizovaných norem. Úplné znění EU prohlášení o shodě je k dispozici na této internetové adrese: www.kavanrc.com/doc.
Záruka
Produkty společnosti KAVAN Europe s.r.o. jsou kryty zárukou, která splňuje aktuálně platné právní požadavky ve vaší zemi. Pokud si přejete uplatnit záruku, kontaktujte prosím prodejce, u kterého jste zařízení původně zakoupili. Záruka se nevztahuje na závady způsobené následujícími způsoby: haváriemi, nesprávným používáním, chybným zapojením, záměnou polarity, pozdní nebo nesprávně provedenou údržbou, údržbou neprovedenou vůbec, nebo údržbou provedenou neoprávněnými osobami, použitím jiného než originálního příslušenství KAVAN Europe s.r.o., úpravami či opravami, které nebyly provedeny společností KAVAN Europe s.r.o. nebo jejím autorizovaným servisním partnerem, náhodným či úmyslným poškozením, závadami vzniklými běžným opotřebením, provozem mimo specifikaci nebo používáním ve spojení se zařízením jiných výrobců. Přečtěte si prosím příslušné informační listy v produktové dokumentaci.









